IUPAC-NIST Solubility Database
NIST Standard Reference Database 106


Glass Ball as Bullet Solubility System: Nitromethane with Hexadecane

Components:
   (1) Nitromethane; CH3NO2; [75-52-5]  NIST Chemistry WebBook for detail
   (2) Hexadecane; C16H34; [544-76-3]  NIST Chemistry WebBook for detail

Evaluator:
   V. P. Sazonov, Technical University, Samara, Russia; A. Skrzecz, Institute of Physical Chemistry Polish Academy of Sciences, Warsaw, Poland; G. T. Hefter, Murdoch University, Perth, Australia, September, 1999.

Critical Evaluation:

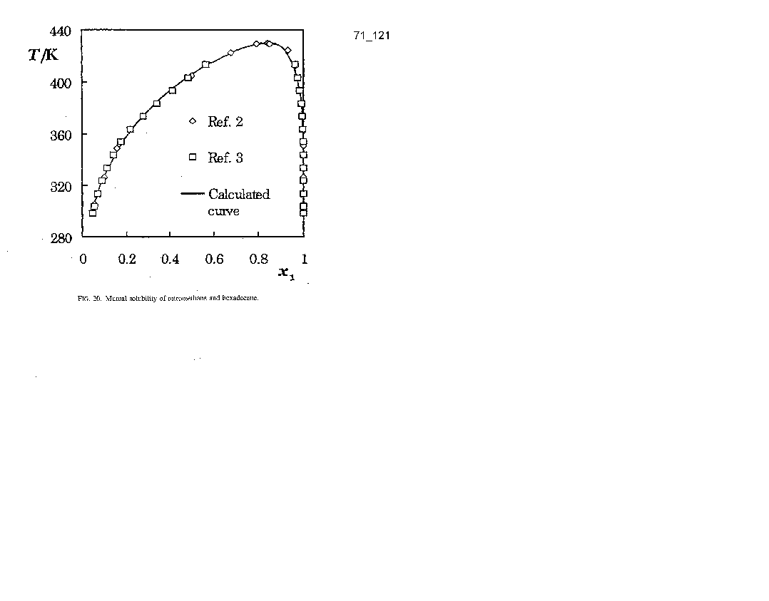
   Solubilities in the system comprising nitromethane and hexadecane have been reported in three publications. Schmid et al.1 determined the upper critical solution temperature by the synthetic method. Rogalski and Stryjek2 measured the mutual solubilities of the two components between 305 and 430 K using the synthetic method. Stryjek et al.3 also reported the mutual solubilities of (1) and (2) at rounded temperatures between 298 and 413 K by an unknown method. In view of the close coincidence between the latter data3 and those in the earlier publication2 it is possible that both are based on a single set of measurements. Regardless, coming from the same group, they cannot be treated as independent results.

At the UCST, the only temperature where direct comparison between independent measurements is possible, the two available studies are in rather poor agreement: 424.2 K (Schmid et al.1) and 429.95 K (Rogalski and Stryjek2). However, it may be noted that the UCST values of Schmid et al.1 in well characterized systems are generally lower than other reports and thus the value from Rogalski and Stryjek2 is probably more realistic. The corresponding critical solution composition2 has been reported as xc1 = 0.8422, 100 w1 = 58.99.

The UCST and xc1 values2 are consistent with the values calculated in the series nitromethane - n -alkane and described in the Introduction material to this volume "Relations of Solubility Data in Binary Systems Containing Nitromethane." The numerical values on mutual solubility reported in Rogalski and Stryjek2 and Stryjek et al.3 have been approximated by the equation based on scaling law and described in the above introduction material to this volume. The following parameters have been adjusted:

a1 = 0.22087, a2 = 2.16418, b1 = -2.86354, a3 = -2.33279, b3 = 2.87117

(mean standard error of estimate was 0.0102).

For approximation xc1 = 0.8442 and UCST = 429.25 K (Rogalski and Stryjek2 have been used. Therefore in the opinion of the evaluators, mutual solubilities calculated by this equation may be treated as tentative (for nitromethane-rich phase at T > 393 K). These calculated results, for the selected temperatures, are presented in the following table. This relationship, together with experimental points,2,3 are also presented in Fig. 20 .

Experimental Data:   (Notes on the Nomenclature)

Mutual solubility of nitromethane and hexadecane
T/K102 * Mass Fraction w1Mole Fraction x1Comment(s)
298.21.180.0423Hexadecane-rich phase
298.2--Nitromethane-rich phase
303.21.390.0498Hexadecane-rich phase
303.2--Nitromethane-rich phase
313.21.920.0678Hexadecane-rich phase
313.2--Nitromethane-rich phase
323.22.600.0900Hexadecane-rich phase
323.2--Nitromethane-rich phase
333.23.440.1166Hexadecane-rich phase
333.2--Nitromethane-rich phase
343.24.480.1481Hexadecane-rich phase
343.2--Nitromethane-rich phase
353.25.770.1850Hexadecane-rich phase
353.2--Nitromethane-rich phase
363.27.360.2277Hexadecane-rich phase
363.2--Nitromethane-rich phase
373.29.370.2771Hexadecane-rich phase
373.2--Nitromethane-rich phase
383.211.920.3341Hexadecane-rich phase
383.2--Nitromethane-rich phase
393.215.250.4002Hexadecane-rich phase
393.293.880.9827Nitromethane-rich phase
403.219.780.4777Hexadecane-rich phase
403.290.150.9714Nitromethane-rich phase
413.226.380.5706Hexadecane-rich phase
413.284.750.9537Nitromethane-rich phase
418.231.060.6257Hexadecane-rich phase
418.281.060.9407Nitromethane-rich phase
423.237.510.6901Hexadecane-rich phase
423.276.180.9223Nitromethane-rich phase
424.239.140.7046Hexadecane-rich phase
424.274.970.9174Nitromethane-rich phase
425.240.950.7201Hexadecane-rich phase
425.273.640.9120Nitromethane-rich phase
426.242.980.7366Hexadecane-rich phase
426.272.150.9058Nitromethane-rich phase
427.245.310.7545Hexadecane-rich phase
427.270.440.8984Nitromethane-rich phase
428.248.110.7748Hexadecane-rich phase
428.268.360.8891Nitromethane-rich phase
429.251.820.7996Hexadecane-rich phase
429.265.490.8756Nitromethane-rich phase
View Figure 20 for this Evaluation

References: (Click a link to see its experimental data associated with the reference)

   1  H.H.O. Schmid; Mangold, H.K.; Lundberg, W.O., J. Am. Oil Chem. Soc. 42, 372-81 (1965).
   2  Rogalski, M.; Stryjek, R., Bull. Acad. Pol. Sci., Ser. Sci. Chim. 28, 139-47 (1980).
   3  Stryjek, R.; Luszczyk, M.; Fedorko-Antosik, M., Bull. Acad. Pol. Sci., Ser. Sci. Chim., 29, 203-11 (1981).