IUPAC-NIST Solubility Database
NIST Standard Reference Database 106


Glass Ball as Bullet Solubility System: Nitromethane with Octadecanoic acid

Components:
   (1) Octadecanoic acid; C18H36O2; [57-11-4]  NIST Chemistry WebBook for detail
   (2) Nitromethane; CH3NO2; [75-52-5]  NIST Chemistry WebBook for detail

Evaluator:
   V. P. Sazonov, Technical University, Samara, Russia; A. Skrzecz, Institute of Physical Chemistry Polish Academy of Sciences, Warsaw, Poland September, 1999.

Critical Evaluation:

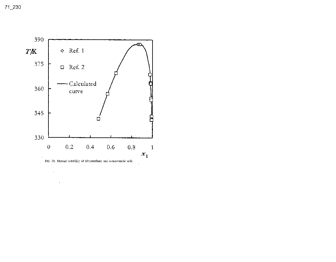
   Solubilities in the system comprising nitromethane and octadecanoic acid have been reported in three publications. Broughton and Jones,1 at 387 K, and Hoerr, et al.,2 between 293 and 369 K, studied the mutual solubilities of (1) and (2) using the synthetic method. Schmid et al.3 determined the upper critical solution temperature also by the synthetic method.

At the UCST, the only temperature where direct comparison is possible, the two results available are in only fair agreement: Schmid et al.3 (386.7 K) and Broughton and Jones1 (387.2 K). Accordingly, in the absence of confirmatory studies, all data must be regarded as tentative. However, it may be noted that the UCST values of Schmid et al.3 in well characterized systems are generally lower than other reports and thus the value from Broughton and Jones1 is probably more realistic.

The measured UCST is not consistent with the values calculated from the respective relationships in the nitromethane - alcohol series, discussed at the beginning of this volume (the calculated value, UCST = 386.5 K ). The numeric values of liquid-liquid solubility, reported in Broughton and Jones1 and Hoerr, et al.,2 have been approximated by the equation based on scaling law (described in the introduction material to this volume "Relations of Solubility Data in Binary Systems Containing Nitromethane") and the following parameters have been adjusted:

a1 = 0.34023, a2 = 0.50866, b1 = -1.00084, b2 = -0.03378

(mean standard error of estimate was 0.0754).

As an approximation, the UCST = 387.2 (Ref. 1) and xc1 = 0.86 have been used. This relationship together with all experimental points from liquid-liquid region1,2 are presented in Fig. 38 . The calculated results for the selected temperatures are presented in the following table. These mutual solubilities may to be treated as tentative.

Experimental Data:   (Notes on the Nomenclature)

Mutual solubility of nitromethane and octadecanoic acid
T/K102 * Mass Fraction w1Mole Fraction x1Comment(s)
341.216.550.4802Acid-rich phase
341.296.300.9918Nitromethane-rich phase
343.217.160.4912Acid-rich phase
343.296.200.9916Nitromethane-rich phase
348.218.800.5191Acid-rich phase
348.295.750.9906Nitromethane-rich phase
353.220.620.5477Acid-rich phase
353.294.970.9888Nitromethane-rich phase
358.222.660.5773Acid-rich phase
358.293.820.9861Nitromethane-rich phase
363.224.980.6081Acid-rich phase
363.292.180.9821Nitromethane-rich phase
368.227.660.6406Acid-rich phase
368.289.940.9766Nitromethane-rich phase
373.230.870.6755Acid-rich phase
373.286.890.9686Nitromethane-rich phase
378.234.920.7144Acid-rich phase
378.282.590.9567Nitromethane-rich phase
383.240.730.7620Acid-rich phase
383.275.880.9362Nitromethane-rich phase
384.242.360.7740Acid-rich phase
384.273.910.9296Nitromethane-rich phase
385.244.350.7879Acid-rich phase
385.271.480.9212Nitromethane-rich phase
386.247.080.8057Acid-rich phase
386.268.130.9088Nitromethane-rich phase
View Figure 38 for this Evaluation

References: (Click a link to see its experimental data associated with the reference)

   1  Broughton, G.; Jones, D.C., Trans. Faraday Soc. 32, 685-9 (1936).
   2  Hoerr, C.W.; Sedgwick, R.S; Ralston, A.W., J. Phys. Chem. 56, 1068-73 (1952).
   3  H.H.O. Schmid; Mangold, H.K.; Lundberg, W.O., Microchem. J. 7, 287-96 (1963).