IUPAC-NIST Solubility Database
NIST Standard Reference Database 106


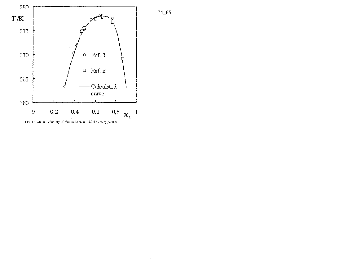
Glass Ball as Bullet Solubility System: Nitromethane with 2,2,4-Trimethylpentane

Components:
   (1) Nitromethane; CH3NO2; [75-52-5]  NIST Chemistry WebBook for detail
   (2) 2,2,4-Trimethylpentane; C8H18; [540-84-1]  NIST Chemistry WebBook for detail

Evaluator:
   V. P. Sazonov, Technical University, Samara, Russia; A. Skrzecz, Institute of Physical Chemistry Polish Academy of Sciences, Warsaw, Poland August 1999.

Critical Evaluation:

   Solubilities in the system comprising nitromethane and 2,2,4-trimethylpentane have been reported in two publications. Malesinska1 carried out measurements of the mutual solubilities of the components between 363 and 379 K by synthetic method. Rolla et al.2 studied mutual solubilities of (1) and (2) between 369 and 378 K by synthetic method.

Values obtained by the graphical interpolation or extrapolation from the data sheets are presented in the following table. Data are "recommended" if two or more apparently reliable studies are in reasonable (± 5 % relative) agreement. All other data are regarded as tentative only.

The upper critical solution temperature has been reported as 377.8 K,2 378.20 K.1 Thus, the recommended value is: (378.0 ± 0.2) K.

The corresponding critical solution composition has been reported as xc1 = 0.665(Rolla et al.2) and xc1 = 0.670 (Malesinska1). The data average xc1 = 0.668 ± 0.003, (100 w1 = 51.8) this value is recommended. The numerical values reported in the above table have been approximated by the equation based on scaling law (described in the Introduction material to this volume "Relations of Solubility Data in Binary Systems Containing Nitromethane") and the following parameters have been adjusted:

a1 = 0.71810, a2 = 0.78552, b1 = 5.74595, b2 = -5.18987

(mean standard error of estimate was 0.0029).

For approximation the recommended values of UCST and xc1 have been used. This relationship is presented in Fig. 15 together with experimental data reported by Malesinska1 and Rolla et al.2

Experimental Data:   (Notes on the Nomenclature)

Recommended and tentative values for the mutual solubilities of nitromethane and 2,2,4-trimethylpentane
T/K102 * Mass Fraction w1Mole Fraction x1x1 NoteComment(s)
36318.80.302TentativeHydrocarbon-rich phase
36316.90.098TentativeNitromethane-rich phase
36822.80.356TentativeHydrocarbon-rich phase
36821.00.124TentativeNitromethane-rich phase
37329.30.437RecommendedHydrocarbon-rich phase
37327.90.171RecommendedNitromethane-rich phase
38533.60.486RecommendedHydrocarbon-rich phase
38531.70.199RecommendedNitromethane-rich phase
View Figure 15 for this Evaluation

References: (Click a link to see its experimental data associated with the reference)

   1  Malesinska, Bull. Acad. Pol. Sci., Ser. Sci. Chim. 8, 53 (1960).
   2  Rolla, M.; Franzosini, P.; Riccardi, R. L., Bottelli, Z. Naturforsch. 22A, 48-53 (1967).