IUPAC-NIST Solubility Database
NIST Standard Reference Database 106


Glass Ball as Bullet Solubility System: Nitromethane with Nonane

Components:
   (1) Nitromethane; CH3NO2; [75-52-5]  NIST Chemistry WebBook for detail
   (2) Nonane; C9H20; [111-84-2]  NIST Chemistry WebBook for detail

Evaluator:
   V. P. Sazonov, Technical University, Samara, Russia August 1999.

Critical Evaluation:

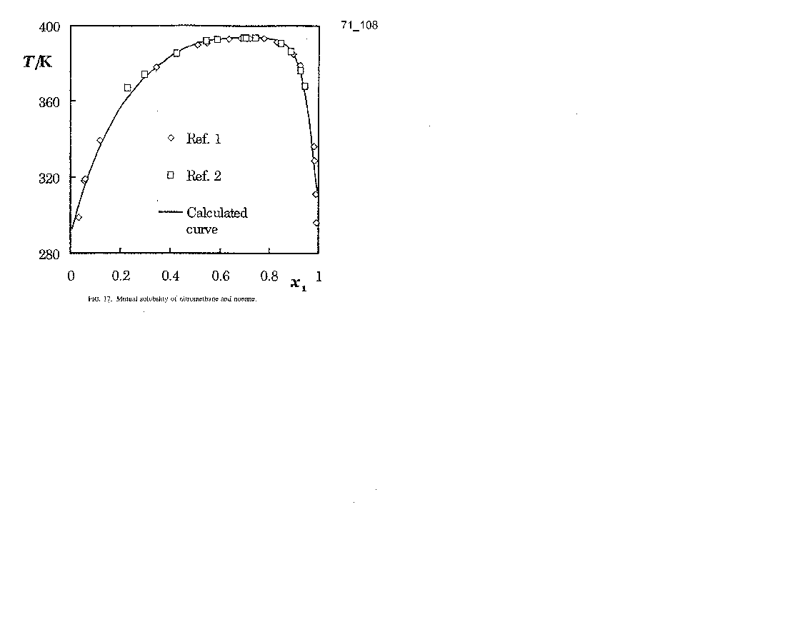
    Solubilities in the system comprising nitromethane and nonane have been reported in two publications. Malesinska,1 between 296 and 393 K, and Rolla et al.,2 between 366 and 393 K, measured the mutual solubilities of (1) and (2) using the synthetic method.

Values obtained by the graphical interpolation or extrapolation from the data sheets are presented in the following table. Data are "recommended" if two or more apparently reliable studies are in reasonable (± 5 % relative) agreement. All other data are regarded as tentative only.

The upper critical solution temperature has been reported as 393.45 K (Malesinska1) and 393.8 K (Rolla et al.2). Thus, the recommended value is (393.6 ± 0.2) K. The corresponding critical solution composition has been reported as xc1 = 0.695 (Rolla et al.2) and xc1 = 0.720 (Malesinska 1). Their average, xc1 = 0.708 ± 0.012, is recommended. These recommended values are consistent with the values calculated in the series nitromethane - n -alkane systems and described in the Introduction material to this volume "Relations of Solubility Data in Binary Systems Containing Nitromethane." The numerical values reported in the above table have been approximated by the equation based on scaling law and described also in the above introduction material to this volume. The following parameters have been adjusted:

a1 = 0.87100, a2 = -0.16820, b1 = 4.42121, b2 = -4.47626

(mean standard error of estimate was 0.0106).

For approximation the recommended values of UCST and xc1 have been used. This relationship is presented in Fig. 17 together with experimental data reported in Malesinska1 and Rolla et al.2

Experimental Data:   (Notes on the Nomenclature)

3032.00.041Hydrocarbon-rich phase - Tentative
3031.70.008Nitromethane-rich phase- Tentative
3132.70.055Hydrocarbon-rich phase - Tentative
3132.10.010Nitromethane-rich phase - Tentative
3233.60.073Hydrocarbon-rich phase - Tentative
3232.80.014Nitromethane-rich phase - Tentative
3335.10.101Hydrocarbon-rich phase - Tentative
3333.80.018Nitromethane-rich phase Tentative
3436.80.133Hydrocarbon-rich phase - Tentative
3435.20.025Nitromethane-rich phase - Tentative
3539.30.177Hydrocarbon-rich phase - Tentative
3537.00.035Nitromethane-rich phase - Tentative
36312.40.229Hydrocarbon-rich phase - Tentative
3639.60.048Nitromethane-rich phase Tentative
37316.50.293Hydrocarbon-rich phase - Recommended
37312.60.064Nitromethane-rich phase - Recommended
38324.70.408Hydrocarbon-rich phase - Recommended
38318.20.096Nitromethane-rich phase - Recommended
393450.63Hydrocarbon-rich phase - Recommended
393350.204Nitromethane-rich phase - Recommended
View Figure 17 for this Evaluation

References: (Click a link to see its experimental data associated with the reference)

   1  Malesinska, Bull. Acad. Pol. Sci., Ser. Sci. Chim. 8, 53 (1960).
   2  Rolla, M.; Franzosini, P.; Riccardi, R. L., Bottelli, Z. Naturforsch. 22A, 48-53 (1967).